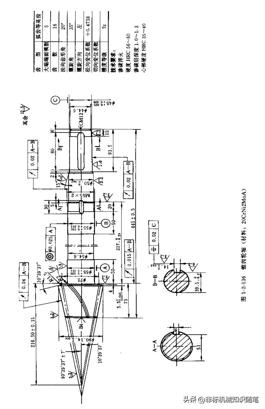
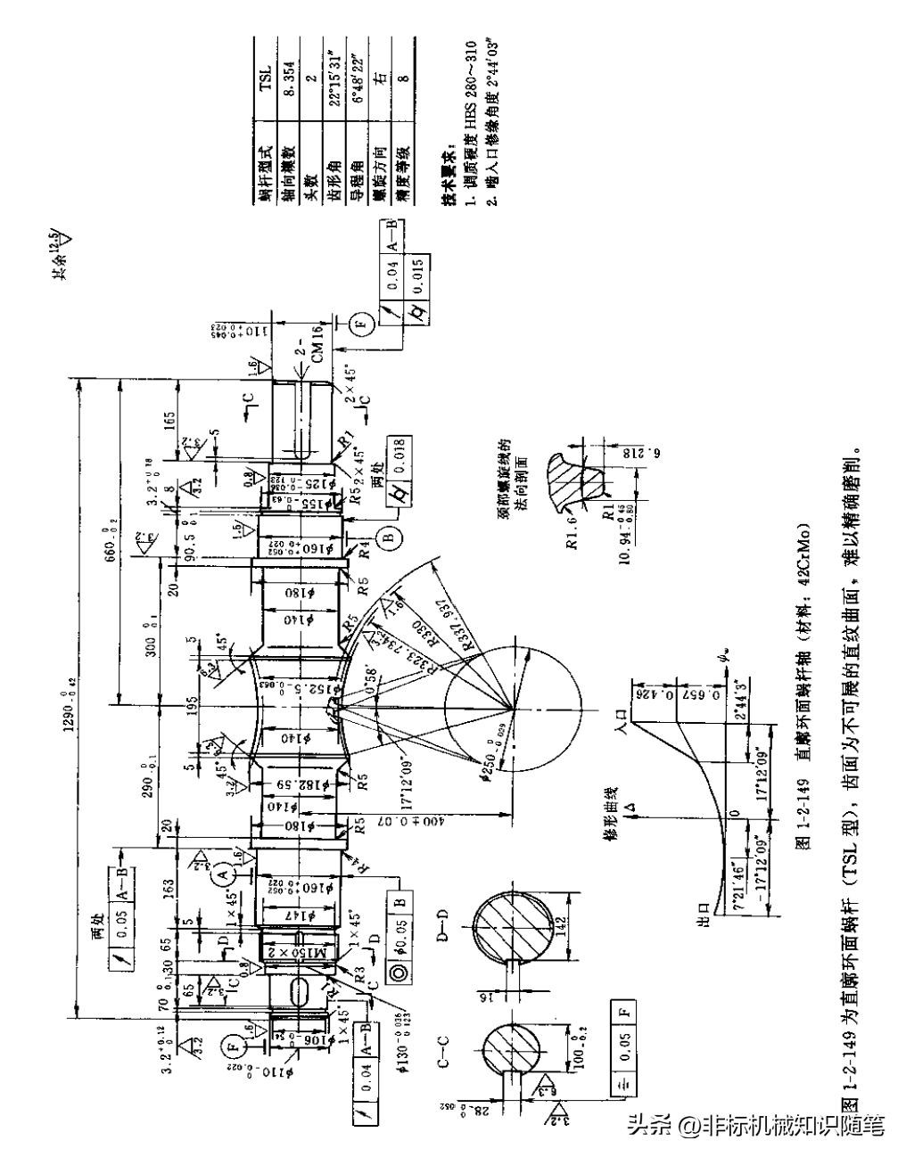
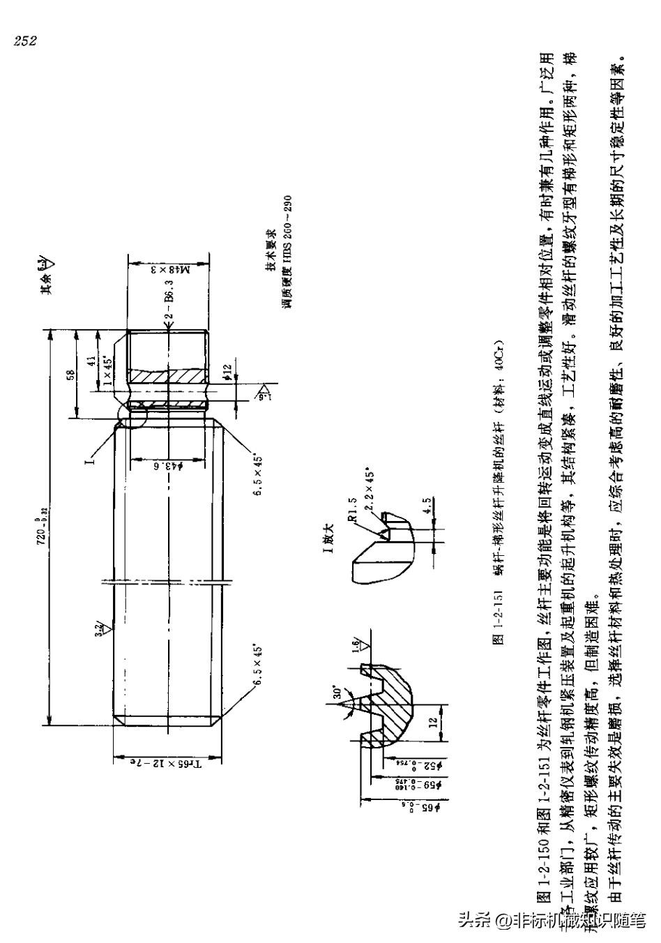
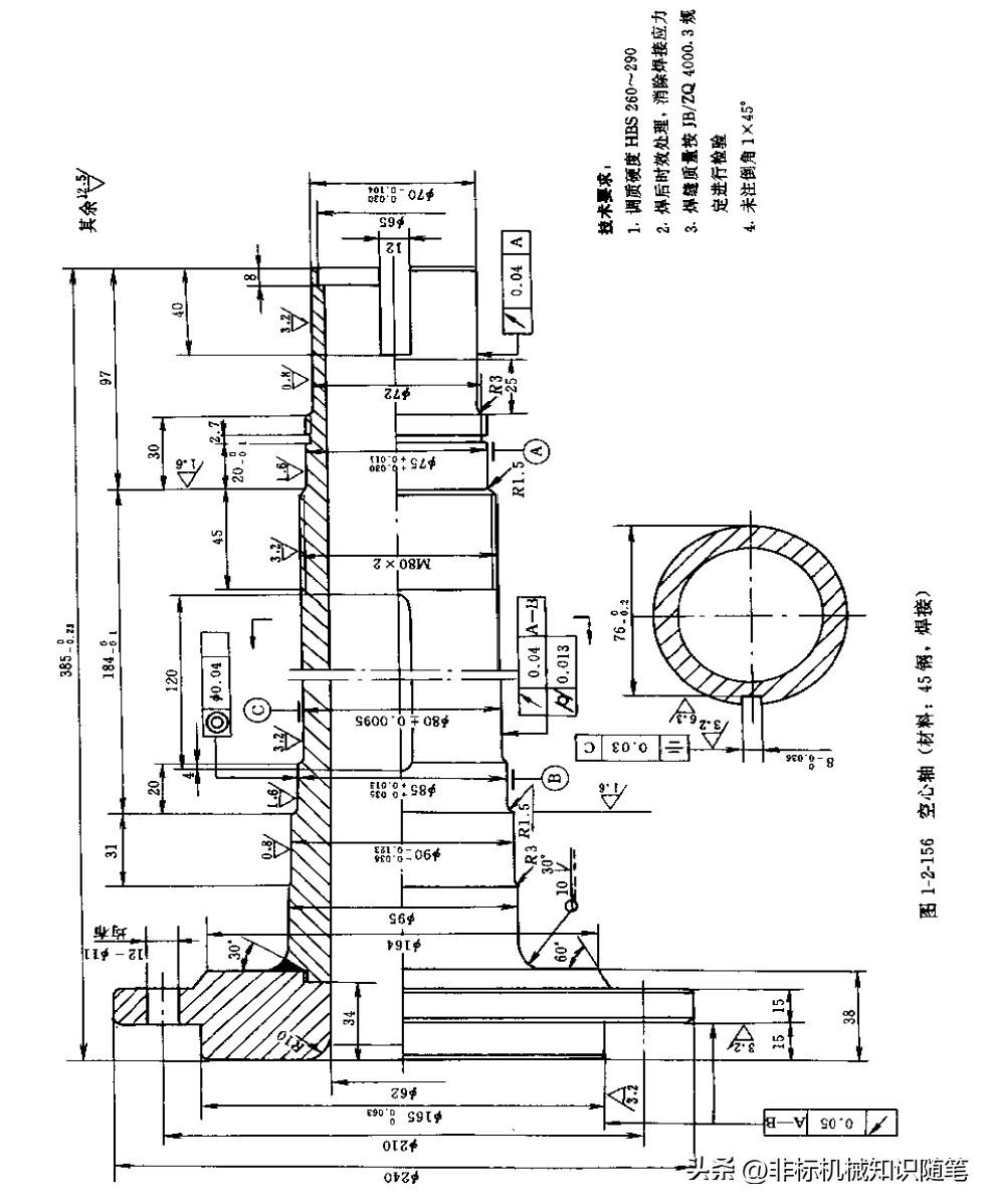
各种机械轴类零件的经典图纸,赶紧收藏!!




































各种机械轴类零件的经典图纸,赶紧收藏!!




































好吃简单的披萨面饼,口感绝对不输店里的面饼 用料 水280克左右 酵母20克 面粉500克 黄油10克左右 面粉中可添加黑芝麻适量 好吃简单的披萨面饼,口感绝对不输店里的面饼的做法 1.准...
大年三十年夜饭,这6道家宴菜收藏好,吃得舒服寓意好 龙年行大运 大年三十年夜饭是中国传统文化中具有重要意义的一餐,也是家庭团聚的时刻。在这一天,人们会准备丰盛的家宴,...
17句高情商反击:让不尊重的人哑口无言! #遇到别人不尊重自己怎么办#在日常生活中,我们时常会遇到一些不尊重我们的言行。面对这些情况,如何以高情商的方式回应显得尤为重要...
重读《道德经》第十三章之荣辱不惊 第十三章: 宠辱若惊,贵大患若身。何谓宠辱若惊?宠为下,得之若惊,失之若惊,是谓宠辱若惊。何谓贵大患若身?吾所以有大患者,为吾有身...
暖气管道4种连接方式图解:暖气片如何安装?串联和并联哪个热? 常常听到很多用户吐槽家里的暖气片总是不热。其实,暖气片安装施工作为家装重点是不容忽视的,安装不到位,再...
母亲被恶霸强奸,儿子与他扭打不小心刺死,被判故意杀人罪 #我在岛屿读书# 在那个看似平常的小镇上,却隐藏着不为人知的黑暗。 阿强和母亲相依为命,生活虽然清苦,但母子俩相...
1970年,蒋中正重外孙俞祖声的生活照片,三国混血儿,家族显赫 1970年的一个温暖午后,蒋中正的重外孙俞祖声,在美国的寓所前,留下了这一张照片。照片中,年仅九岁的俞祖声身着...
雄兵连:天基王鹤熙高清绝美壁纸(一)...
每天认识一个品牌|wassup 帅哥美女们 欢迎来到荒的时尚岛! wassup(光影魔法)是来自于福州的原创国产潮流服装品牌,wassup是以做男性服装,以潮流风为主,走性价比高、简约风等路...
人生追求是什么? 人生追求是指个体对于生活中的目标、意义和满足感的追求。它涉及到个人对于自身成长、幸福和意义的探索和追求。人生追求可以是多样化的,因为每个人对于生活...
炫舞房间分割图(50张)制作步骤 最近很多炫舞玩家都发现别人的房间墙壁上都挂有美美的分割图,但是自己又不知道怎 来自 么弄,这里就给大家推送教程哟 材料/工具 炫舞客户端...
张家辉做客《大牌驾到》 自爆想和谢霆锋演同性 影帝张家辉亲临腾讯视频《大牌驾到》,畅谈演艺生涯的人生经历,爆料最想打到的功夫明星是甄子丹,而张家辉谈及最想演同性恋的...
快手伪土豪:泰山老火 网红想要火起来现在最快的一种方式就是去其他大主播直播间刷钱,然后吸引粉丝。但是像这种刷客可不是人人都都可以做的。首先你必须要有过人的财力。这个...
美国队长原本的名字,叫做超级美国人? 史蒂夫·罗杰斯创作于漫威漫画崛起并占据主导地位之前。 他后来成为了二战中美国士兵的希望,和爱国主义的象征。 不过这个英雄的创作者...
为什么建议取消博士后申请年龄限制? 取消博士后申请年龄限制将有助于增加该领域的多样性,可以提高该领域的竞争力。同时取消年龄限制可能会增加博士后职位的竞争,使得那些刚...
详细介绍茅台白金酒:传承与创新的交融,酱香典范的璀璨明珠 咨询热线:13385128625(VX同号) 产品规格: 品名:茅台白金酒 香型:酱香型 度数:53%vol 净含量:500ml 产地:贵州省 储...
项目经理管理必备的软件(不可或缺的6个项目管理软件) 01-Asana Asana 是适用于各种规模企业的项目管理软件系统,提供任务管理、协作、文档管理、工作流管理、项目组合管理等,是...
34岁歌手柏文深情演唱,成方圆董文华捧场合唱,张凯丽拍手大赞 近日,歌手柏文在社交平台分享了一条文艺界的活动视频。她在台上深情演唱了电视剧《渴望》的同名主题曲,一身红...
广州沙面岛旅游攻略 沙面岛,原名拾翠洲,因为是珠江冲积而成的沙洲,所以取名沙面。广州沙面岛是广州市必去的十大景点之一,位于荔湾区,四面都被水环绕,是广州最具异国情调...
火影忍者,佐助竟然喜欢收藏“猫肉球”!甚至连二尾又旅都不放过 《火影忍者》里面曾经有一集讲述了关于宇智波鼬与宇智波佐助童年的往事,鼬与佐助的童年时期修炼忍术和体术的...